欢迎来到芯果!

【通讯转载自网络|本文末尾注明出处】
“图像传感器结构以及获得高光溢出的方法”
天眼查显示,中芯国际集成电路制造(上海)有限公司“图像传感器结构以及获得高光溢出的方法”专利公布,申请公布日为2024年4月5日,申请公布号为CN117832231A。

一种图像传感器结构以及获得高光溢出的方法,方法包括:提供图像传感器结构,图像传感器结构包括像素单元,每个像素单元包括多个相邻的像素结构;其中,像素单元中多个像素结构共用传输漏极,像素单元包括相邻的第一像素结构和第二像素结构;分别在第一条件和第二条件下,获得第一像素结构的N型区的第一条件电流和重置漏极的第二条件电流;基于第一条件下和第二条件下,第一条件电流和第二条件电流之间的相对大小,获得高光溢出的性能。本发明实施例提高对高光溢出性能评估的全面性和准确性。
作者:爱集微 赵碧莹
“一种半导体封装及电子设备”
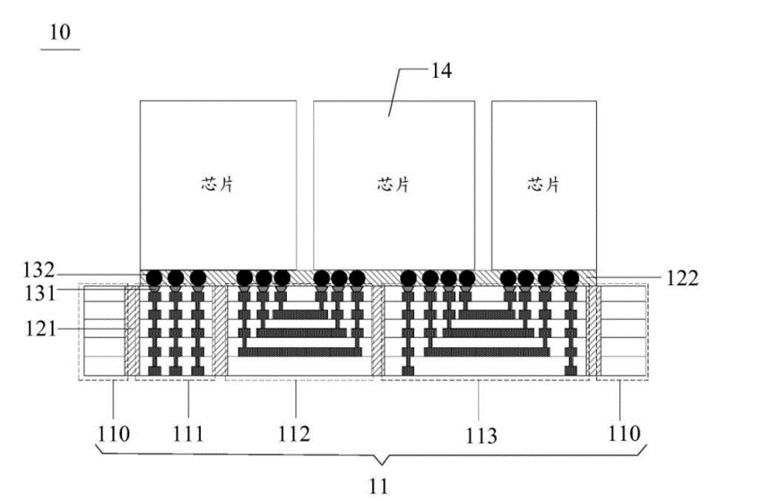
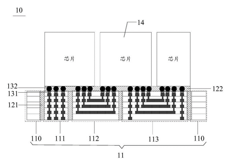
天眼查显示,华为技术有限公司“一种半导体封装及电子设备”专利公布,申请公布日为2024年4月5日,申请公布号为CN117832187A。

本申请提供了一种半导体封装及电子设备。其中,半导体封装包括:后道工序转接层,后道工序转接层被分割成相互独立设置的至少一个互连转接部和至少一个冗余转接部;任意相邻两个转接部之间填充有第一填充料;各互连转接部上设置有与该互连转接部电连接的至少一个芯片。在该半导体封装中,采用后道工序转接层与芯片互连,可以省掉TSV相关工艺,从而可以降低封装成本。并且由于后道工序转接层被分割成了相互独立的至少一个互连转接部和至少一个冗余转接部,从而可以缓解后道工序转接层发生形变和残余应力过大的问题,降低后道工序转接层产生裂纹等封装可靠性的风险。
作者:爱集微
“毫米波雷达相关专利”
天眼查显示,北京百度网讯科技有限公司“基于毫米波雷达的目标速度预测方法、装置及存储介质”专利公布,申请公布日为2024年4月5日,申请公布号为CN117830642A。

本公开提供了一种基于毫米波雷达的目标速度预测方法、装置及存储介质,涉及计算机技术领域,尤其涉及图像识别、目标检测、自动驾驶等领域。具体实现方案为:根据多帧毫米波雷达点云进行目标检测,得到目标的包围框,该多帧毫米波雷达点云中包括多个点;根据处于该目标的包围框中的一个或多个点,得到该目标的初始速度;根据该目标的初始速度,得到该目标的预测速度。本公开实施例中,基于多帧毫米波雷达点云能够提高毫米波雷达点云稠密性,得到的目标的包围框更加准确,能够得到更加准确的初始速度,从而提高预测速度的准确性。
作者:爱集微 赵碧莹
天眼查显示,珠海一微半导体股份有限公司近日取得一项名为“一种基于TOF摄像头的障碍物识别方法、清洁机器人”的专利,授权公告号为CN112347876B,授权公告日为2024年4月5日,申请日为2020年10月26日。

本发明公开一种基于TOF摄像头的障碍物识别方法、清洁机器人,该障碍物识别方法包括:控制移动机器人的TOF摄像头采集其探测视角范围内的一目标障碍物的深度图像,再根据这个目标障碍物的深度图像计算出这个目标障碍物深度信息及其尺寸大小,再选择性地结合TOF摄像头实时输出的与目标障碍物相匹配的亮度图像数据,识别出目标障碍物的类型;其中,TOF摄像头设置在移动机器人的机体前方,用于探测移动机器人的前进方向上的目标障碍物;其中,所述目标障碍物的尺寸大小包括所述目标障碍物的轮廓线的高度信息。比现有技术的障碍物归类处理方法更适应于规划出室内实际活动环境下的无障碍物可通行区域,减轻机器人识别障碍物的运行负载。
作者:爱集微 赵碧莹
天眼查显示,上海华虹宏力半导体制造有限公司近日取得一项名为“半导体器件”的专利,授权公告号为CN113192948B,授权公告日为2024年4月5日,申请日为2021年4月27日。

本发明提供了一种半导体器件,包括基底,具有第一区域和第二区域,所述第一区域位于相邻的两个所述第二区域之间;两个子漏区,位于所述基底的第一区域内;dummy结构,位于相邻两个所述子漏区之间的所述基底上;源区,位于所述基底的第二区域内;栅极结构,位于所述第一区域和第二区域之间的所述基底上;本发明通过所述dummy结构来提高器件的ESD能力,且无需现有技术的SAB光罩也不需引入新的工艺流程,能够直接在制造工艺中同步形成所述dummy结构,以降低器件的制造成本。
作者:爱集微 赵碧莹
4月5日,华为技术有限公司公开一项“挡板、芯片、SiC晶体、晶体生长炉和生长方法”专利,申请公布号为CN117822097A,申请日期为2022年9月28日。

该专利摘要显示,本申请实施例公开了一种挡板、芯片、SiC晶体、晶体生长炉和生长方法,涉及碳化硅晶体技术领域,有效改善晶体质量。具体方案为:于晶体生长炉内设置挡板,该挡板的通道可改变炉体内气相源的运动方向,将气相源的运动方向改变为斜向上,使气相源朝向籽晶的小面运动。本申请实施例可提高晶体的生长速度,提高晶体的厚度和质量,降低微管密度。另外,选用低密度石墨作为挡板的材料,当通道被封堵后,低密度石墨内的孔隙可以供气体通过,能进一步降低晶体内包裹物的含量,提高晶体质量。
作者:依然